Please wait...
In a group, the ratio of the number of boys to the number of girls is P. The ratio of the number of girls to the number of boys is Q, then P + Q is always
Fill in the blank with the correct
The police were unable to the crowd.
What is the chance that a leap year, selected at random, will contain 53 Sundays?
Statement: Many political activists have decided to stage demonstrations and block traffic movement in the city during peak hours to protest against the steep rise in prices of essential commodities.
Courses of action:
(A) The Govt. should immediately ban all forms of agitations in the country.
(B) The police authority of the city should deploy additional forces all over the city to help traffic movement in the city.
(C) The state administration should carry out preventive arrests of the known criminals staying in the city.
Out of the following figures, three are similar in a certain way. One figure is not like the other three. Find out the figure that does not belong to the group.
How many squares on (a) chess board?
Fill in the blank with the correct word.
State ownership of the country's productive resources may unfortunately rather than ameliorate environmental problems.
Which of the following can be logically inferred from the above statement?
Out of the given figures, three are similar in a certain way. One figure is not like the other three. Find out the figure which does not belong to the group.
In a family, a couple has a son and a daughter. The age of the father is three times that of his daughter and the age of the son is half of his mother. The wife is 9 years younger to her husband and the brother is seven years older than his sister. What is the age of the mother?
Match List-I (Operation feature) with List-II (Shearing operation) and select the correct answer using the codes given below the lists:
During heat treatment of steel, the hardness of various structures in increasing order is
A 20 mm diameter drill with point angle 120° is used to drill a through hole in a plate 30 mm thick. The time required for drilling (in min) if the feed is 0.1 mm/rev and the material is cut with a velocity of 20 m/min Assume the length of approach and over travel as 2 mm and 3 mm respectively.
An exterior wall of house may be approximated by a 0.1m layer of common brick (k = 0.7W/m0C) followed by 0.04m layer of gypsum plaster (k = 0.48W/m0C). The thickness of loosely packed rock wool insulation ( k= 0.065W/m0C) which should be added to reduce the heat loss through the wall by 80% (mm) is
The following data are given for calculating limits of dimensions and tolerance for a hole: Tolerance unit ‘i’ (microns) = 0.45 D1/3 + 0.001D. Where D is in mm. Diameter step is 18-30. If the fundamental deviation for hole H is zero and 1T8 =25 i, the maximum and minimum limit of dimension for 25H8 hole (in mm) respectively are
Which of the following statements is incorrect?
If the efficiency of the pump is 70%, how much power (in kW) is being supplied to the pump? (Answer up to two decimal places.)
The shear force and bending moment diagrams for the beam shown in the figure respectively are
A solid cylindrical stainless steel work piece of 200 mm diameter and 150 mm height. This component is reduced by 50% in height with flat die in open die forging. The estimated forging force at the end of the stroke is Assume the flow stress of the material as 1000 MPa and the coefficient of friction to be 0.2
What will be the turning moment (in N-m) on the crank shaft? (to the nearest integer)
Which one of the following statements related to grinding process is INCORRECT?
Water (cp = 4180 J/kg°C) enters a thin-walled double-pipe counter-flow heat exchanger at 22°C at a rate of 1.5 kg/s. This water is to be used to cool oil (cp = 2200 J/kg°C) from 150°C to 40°C at a rate of 2 kg/s. If the overall heat transfer coefficient of this heat exchanger is 32.5 kW/m2°C and the length of the tube is 6 m, the diameter (in cm) of the tube will be _____. (Answer up to one decimal place)
Point A lies on link 2 and B lies on link 4 in the shaper quick return mechanism as shown. Both are coincident points. Which of the following statements is/are correct?
A 2 *1/2 - axis control in a typical CNC machine provides
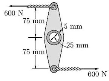
In the figure shown, the link acts as part of the elevator control for an airplane. The attached aluminium tube has an inner diameter of 25 mm and a wall thickness of 5 mm.
What will be the maximum shear stress (in MPa) in the tube when a cable force of 600 N is applied to the cables? (Answer up to one decimal place)
Customers arrive at a one-window drive according to a Poisson distribution with mean of 10 minutes and service time per customer is exponential with mean of 6 minutes. The space in front of the window can accommodate only three vehicles including the serviced one. Other vehicles have to wait outside this space. What will be the Probability that an arriving customer can drive directly to the space in front of the window, the Probability that an arriving customer will have to wait outside the directed space and expected waiting time (in minutes) of a customer before getting the service respectively?
A random bit string of length n is constructed by tossing a fair coin n times and setting a bit to 0 or 1 depending on outcomes head and tail, respectively. The probability that two such randomly generated strings are not identical is
Consider a cylindrical casting of 40 cm diameter and 20 cm height as shown, which is filled up by a sprue having gate diameter of 2 cm by top gating and bottom gating. If the head available for filling metal in both cases is 25 cm, what will be the time taken to fill up the cylindrical casting in both cases, respectively?
A particle of mass 5 kg moves in a straight line under the influence of a momentum which is varying parabolically. If the rate of change of momentum at t = 0 is 80 N, after 2 s rate of change of momentum is 480 N. What will be the velocity of particle after 5 s when it started from rest from origin?
Consider the following statements and mention which of them is/are CORRECT?
Let u(x, t) be the bounded solution of with u(x, 0) Then, u(1, t) equals ______. (Answer up to one decimal place.)
To find the root of f(x) = 0, a scientist is using the bisection method. At the beginning of an iteration, the lower and upper guesses of the roots are xl and xu . At the end of the iteration, the absolute relative approximate error in the estimated value of the root would be
What will be the fraction of steam extracted from the turbine? (Answer up to two decimal places.)
The coefficient of friction and the chip thickness ratio respectively are
Let P and Q be square matrices such that PQ = I. Then, zero is an eigenvalue of
The chances of a cricketer scoring a century is 20%. The chances of a cricketer hitting a century and getting above 150 runs in the match is 5%. Given that a cricketer scores a century, the probability that he gets more than 150 runs is —---.
[ give answer into two decimal places]
During a steady gas metal arc welding with direct current electrode positive polarity; the welding current, voltage and weld speed are 150 A, 30 V and 6 m/min respectively. A metallic wire electrode of diameter 1.2 mm is being fed at a constant rate of 12 m/min. The density, specific heat and melting temperature of the wire electrode are 7000 kg/m3, 500J/kg and 1530°C respectively. The melting efficiency (in %) of the wire electrode is Assume the ambient temperature to be 30°C and neglect the latent heat of melting. Further consider that 2/3rd of the total electrical power is available for melting of the wire electrode.
Match the type of gears with their most approximate description.
The height of water in an airtight pressurised tank is 20 m. A hose pointing straight up is connected to the bottom of the tank. The gauge pressure above the water surface is 204 kPa. What will be the maximum height (in m) to which the water stream could rise? (The system is at sea level.) (Answer to the nearest integer.)
Two involute gears are designed to mesh for a given center distance and angular velocity ratio (other than 1). During assembly, the centre distance has increased slightly. Then, which of the following changes occurs?
A water sample at 100 kPa has specific volumes as vf = 0.001043 m3/kg and vg = 1.6940 m3/kg. If the sample has the quality of 10%, the volume fraction of the vapour will be ___. (Answer up to three decimal places.)
A stepped shaft transmits a torque varying from 800 N-m to 1200 N-m. The ultimate tensile strength of the material of the shaft is 600 MPa and yield stress of the material is 450 MPa. Correction for type of loading is 0.6, size factor is 0.85, surface finish factor is 0.8 and stress concentration factor is 1.2. What will be the diameter of the shaft (in mm) for an infinite life for a factor of safety of 1.8? (to the next integer)
The rise motion of a cam is given by equation where a is total rise and θ is in rad. The jerk at θ = n/3 is
Annual demand of any commodity is 8000 units, cost per unit is t 25/unit, inventory holding cost is 20% of unit cost and inventory ordering cost is ₹ 25/order. If the dealer expect the possibility of back ordering and estimated annual cost of back ordering is 10% of unit price. The optimum number of commodity back ordered (in units) is
A brake band attached to the hinge by means of a riveted lap joint having 4 rivets. The permissible stresses for the band and rivets in shear and compression are 60N/mm2 and 120N/mm2 respectively. Thickness of plate is 3mm. The diameter of the rivets needed for the load of 10kN (mm) is
A 24 kg uniform cylindrical roller, initially at rest, is acted upon by a 100 N force as shown. The body rolls without slipping. The velocity of its centre G after it has moved 1.8 m and the friction force required to prevent slipping respectively are
The size of the heat affected zone (HAZ) will increase with
A disc of radius' r 'has a hole of radius 'r/2' cut-out as shown. The centroid of the remaining disc (shaded portion) at a radial distance from the centre ''O'' is
If is one of the eigen vector of matrix A = and A3*3 has three distinct eigen values then which of the following can be another eigen vector of matrix A?
Two bodies at different temperatures are mixed in an insulated calorimeter. Which of the following quantities remains conserved?
Which one of the following sand moulds uses sodium silicate as a binder?
On the psychrometric chart, a cooling and dehumidification process appears as a line that is
The purpose of jigs and fixtures is to
1. increase production rate and machining accuracy 2. reduce manual handling operations 3. eliminate pre-machining operations like marking, measuring, laying out, etc. 4. decrease versatility of machine tool
Which of these statements are correct?
A lot sizing policy, in which order quantity equals net requirements for the period, is known as
The 75 Kg flywheel has a radius of gyration about its shaft axis of K = 0.5m and is subjected to the torque T=10 [1 - e-t Nm where t is in s. If the flywheel is at rest at time t=0, the angular velocity of flywheel (in rad/s) at time t = 3 s is
A single row deep groove ball bearing is subjected to a radial force of 10 kN and a thrust force of 4 kN. Radial and thrust factor are 0.56 and 1.79 respectively. The shaft rotates at 1200 rpm considering inner face rotation. The expected life Llohof the bearing is 20000 hr. What is the dynamic load capacity?
In certain machining operation with a cutting speed of 50 m/min, tool life of 45 min was observed. When the cutting speed was increased to 100 m/min, the tool life is decreased to 10 min. Calculate the cutting speed (in m/min) for maximum productivity, if tool change time is 2 min
On an average 120 patients per 24 hr require the service of an emergency ward. On an average a patient requires 10 min of active attention. There is only one emergency ward which can handle only one patient at a time. If it costs ₹ 100 per patient treated for clinic to obtain an average servicing time of 10 min and that each min of decrease in this average time would cost ₹10 per patient treated. If average size of queue is reduced
25/6 to 3/2 from patient, then the budget per patient of clinic (in ₹) 2
will become —------------------
Which of the following method of error is most preferred in forecasting?
Consider the following statements for single-stage reciprocating compressors:
1. Isothermal process is the most desirable process for compression.
2. The size of clearance volume provided in the compressor has no effect on work done per kg of air delivered.
3. The volumetric efficiency of the compressor decreases with increasing pressure.
Which of the above statements are correct?
Which of the following statements regarding thermal radiation is/are correct?
The angular velocity of a disk is given by the relation ω = at2 + b, where a = 5 rad/s3 and b = 2 rad/s. If the radius of the disk is 0.8 m, then at t = t1 = 0.5 s, the magnitudes of the velocity and acceleration of point A on the disk respectively are
Arrange the processes in the increasing order of their maximum material removal rate: EBM, LBM, USM, ECM, and EDM